Sign in   |  Join   |  Help
Untitled Page

ARCHIVED FORUM -- March 2012 to February 2022
READ ONLY FORUM

This is the second Archived Forum which was active between 1st March 2012 and 23rd February 2022

 

Beogram 3000 (5228) tone-arm ball bearing

rated by 0 users
This post has 1 Reply | 1 Follower

Daan
Not Ranked
The Hague, NL
Posts 4
OFFLINE
Bronze Member
Daan Posted: Sun, Sep 22 2019 4:36 PM

Hi all,

I have recently acquired an (ab)used Beogram 3000, which I'm now in the process of getting back to working order, as it is stunning!

The tone-arm was quite hard to move around, do I removed the entire arm and pivot, carefully catching all the parts and the ball bearings.

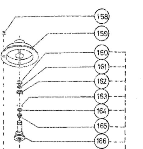
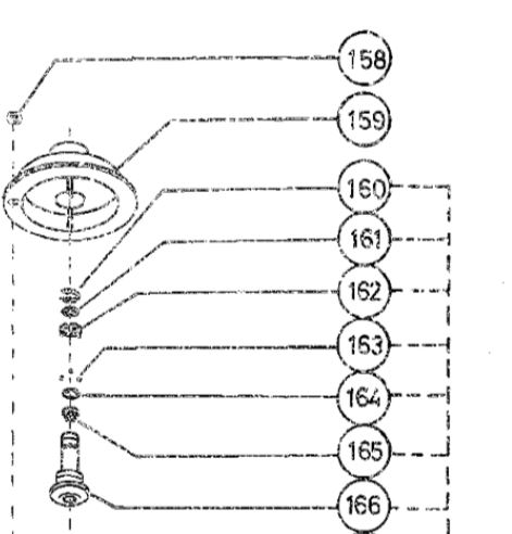
Now the excited part in me forgot to note the order in which these belong (lesson learned..). When I was looking at the service manual, I could not make out the order, as it also seems to mention a washer (#161), which seems to be absent in mine.

 

I found an old thread regarding the tone-arm assembly, but the pictures were no longer available, so I am hoping someone might be able to help me out Big Smile

 

The parts that came out, except for the bearing balls, those are kept safe Stick out tongue:

The player section:

The arm (I know, it's dirty, cleaning it up is next Wink):

 

Thanks in advance!

 

Daan

Daan
Not Ranked
The Hague, NL
Posts 4
OFFLINE
Bronze Member
Daan replied on Wed, Sep 25 2019 9:09 AM

So, I actually managed to figure it out Smile Was easier than I thought.

For future reference, should anyone need it:

 

  • Place the shaft back (I secured it with some light tape from the bottom, to prevent it from falling back in)
  • Insert the black ring and center it as much as possible with tweezers. 
  • Carefully insert the bearing balls. Take your time to place them, it's a fiddly job.
  • Insert the white ring, with the slotted part down. This lines up with the slots in the black ring. I found it easiest to gently push down the lift mechanism, so I could see if they lined up
  • Re-install black retainer clip

 

After this my initial issue was still there, which was that the player was stuck in the same groove. Arm was balanced correctly. Fearing a broken element, since I bought it from eBay, I checked one last thing.

The word abused in my original post was not for nothing...

The return mechanism arm was bent upward, so the tone-arm actually had a very hard time moving. I carefully bent it back (after removing it of course),et voila... It tracked perfectly at 1.2 grams! Lets have a Party !!!

 

All in all, it was it pretty good shape, considering it's 35 years of experience. Even the "felt" on the idler wheel adjustment arm was still in place and in good condition. The only thing I will replace is the wheel itself, since the rubber is rock solid.

I'd say a very good buy for 30 euro's Wink

Page 1 of 1 (2 items) | RSS