Sign in   |  Join   |  Help
Untitled Page

ARCHIVED FORUM -- March 2012 to February 2022
READ ONLY FORUM

This is the second Archived Forum which was active between 1st March 2012 and 23rd February 2022

 

Beogram 6500 Scraping Sound when half of the record has played

rated by 0 users
This post has 15 Replies | 0 Followers

kimhav
Top 500 Contributor
Malmo, Sweden
Posts 314
OFFLINE
Bronze Member
kimhav Posted: Sun, Apr 25 2021 1:32 PM

Noticed that I now have a scraping sound when playing a record and once it's around half way through which increase slightly the closer the pick-up arm system gets to the end of the record. There are no cables loose or anything else which can generate the audio so clearly something around the mechanism for the pick-up arms system which generate this scraping sounds; just that I can't really why it's generate and it's only generate 1/3 - 1/4 of the record when spinning so it's almost like that it something might be skewed. But, it looks fine. Having said that, I did notice that the plastic casing for the pick-up arms system isn't fully aligned:

 

Peter8300
Not Ranked
Denmark
Posts 65
OFFLINE
Bronze Member

You probably need to adjust the platter. Google Beograd 6500 Service Manual, it’s described in there how to do it.

I just helped a friend with the same issue with the same solution.

Peter

Guy
Top 50 Contributor
Warwickshire
Posts 2,590
OFFLINE
Gold Member
Guy replied on Sat, May 1 2021 1:51 PM

Mine made a scraping noise right at the end of the record, and I traced it to a badly centred hole on the record itself! The edge of the record rubbed the carriage mechanism once each revolution.

kimhav
Top 500 Contributor
Malmo, Sweden
Posts 314
OFFLINE
Bronze Member
kimhav replied on Sat, May 1 2021 3:37 PM

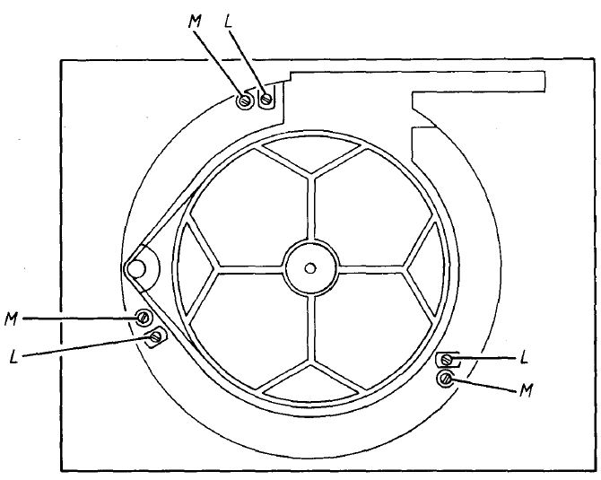
Record rubbing wasn't the issue here on my side, so once again diving into the service manual, to see if there was any hints - not really. But, I then noticed that the aluminium plate wasn't proper centered and the top plat to the topside of the turnable wasn't the even recommended 2.5 - 3.0 mm. While it might not be that easy to see, but if you look at 4 and 8 o'clock on the plate you'll notice that the gap isn't even:

So using the adjustments screws the mechanism was once again centered in relation to the top plate and this is how it looks according to the service manual. Adjusting screws L adjust the distance from the top plate to the topside and loosening the screws M and turning the suspension springs, the drive mechanism is centered in relation to the top plate.

And here is how it looks in real life:

 

Martin
Not Ranked
Sweden
Posts 43
OFFLINE
Bronze Member
Martin replied on Sat, May 1 2021 3:40 PM

Like Peter8300 suggested, it is probably the platter height that needs adjustment. The suspension height is adjusted via screws at the three copper colored thingies that the springs are attached.

I just had this problem myself that when playing a rather heavy record, at the end of the record when the arm mechanism was close to its left endpoint, the weight of it all made the disc somehow touch the base resulting in a scraping noise. I noticed that if I just slightly pressed down on the left side of the record edge when it was spinning, the scraping occurred again even when the arm was at the beginning.

Since the platter looked to be at the correct level all around, I adjusted all three screws just a quarter turn clockwise (to raise the platter) and tried again and the noise was gone!

Regarding the alignment of the black plastic cover for the arm, maybe you can compare with my picture to see if something differs / have been broken?

Martin
Not Ranked
Sweden
Posts 43
OFFLINE
Bronze Member
Martin replied on Sat, May 1 2021 3:42 PM

Haha, I missed your post by a few minutes! :-)

Glad you got the noise sorted!

Dillen
Top 10 Contributor
Copenhagen / Denmark
Posts 13,191
OFFLINE
Founder
Moderator
Dillen replied on Sat, May 1 2021 3:44 PM

Could easily be a wrong platter belt.
The standard belts sold in large numbers on Ebay etc. have a wrong tension/elasticity (and sometimes even wrong size) and are known to
pull the platter towards the motor (and also introduce a too high sideways load on the motor spindle and bearings).
If this is such a belt, you will only make things worse by trying to compensate for it by moving the subchassis even further away from the motor.

Martin

kimhav
Top 500 Contributor
Malmo, Sweden
Posts 314
OFFLINE
Bronze Member
kimhav replied on Sat, May 1 2021 3:50 PM

Busy thread! Managed to post a respond without seeing yours Martin. But, I've played a 180g record which plays fine now and any other record again. Main reason why this probably happened was most likely due to that I removed the PCB2 card to re-cap it and re-mounting have of course put the mechanism so it wasn't centered any more. All in all I've re-cap all electrolytes, new diodes and tweaked the RIAA (thanks for help and input from Menahem) including new plater belts and pick drive belt from Martin.

kimhav
Top 500 Contributor
Malmo, Sweden
Posts 314
OFFLINE
Bronze Member
kimhav replied on Sat, May 1 2021 4:00 PM

Agree to that the original belt wasn't that elastic any-more compared with the new one I got from you Martin and it did pull a little bit on the plater and got it slightly skewed but after the adjustment it everything looks fine again.

About belts loosing it's elastic, this is how the belt from the Beogram CD 6500 looked liked; clearly replacement time and it did sometimes have problem to eject the CD:

Dillen
Top 10 Contributor
Copenhagen / Denmark
Posts 13,191
OFFLINE
Founder
Moderator
Dillen replied on Sat, May 1 2021 4:02 PM

Why did you replace diodes?

Martin

kimhav
Top 500 Contributor
Malmo, Sweden
Posts 314
OFFLINE
Bronze Member
kimhav replied on Sat, May 1 2021 4:09 PM

In the past when I've repaired old computers I have had weird issues due to that the original diodes such as 1N400x didn't keep within tolerances, so I usually replace with new fresh one just to minimise issues. Then on the PCB2 some of the diodes was bad so had to replace; you might remember this thread were I had issues that the fuse blew all the time.

Dillen
Top 10 Contributor
Copenhagen / Denmark
Posts 13,191
OFFLINE
Founder
Moderator
Dillen replied on Sat, May 1 2021 4:13 PM

Oh, yes.
All fine then, - as long as you don't fit schottky diodes as rectifiers. I have had four cases now of exploded schottkys in type 59xx decks.
They are no good when used as power rectifiers and I can't for the life of me understand why owners replace conventional diodes with schottkys.

Martin

Martin
Not Ranked
Sweden
Posts 43
OFFLINE
Bronze Member
Martin replied on Sat, May 1 2021 5:29 PM

Regarding re-cap, is is often necessary on these Beograms? If so, are there any recommended brands and their values floating around the forums? Could be good to know for reference if any problems arise.

Would you say that tweaking the RIAA made any noticeable difference? What kind of tweak by the way? :-)

Dillen
Top 10 Contributor
Copenhagen / Denmark
Posts 13,191
OFFLINE
Founder
Moderator
Dillen replied on Sat, May 1 2021 6:36 PM

Martin:

Regarding re-cap, is is often necessary on these Beograms? If so, are there any recommended brands and their values floating around the forums? Could be good to know for reference if any problems arise.

Would you say that tweaking the RIAA made any noticeable difference? What kind of tweak by the way? :-)

Apart from the filter capacitor on the power supply board (known to short circuit if of the Roederstein brand), there are not really any common problems with capacitors in these decks. And not a lot of capacitors at all, really.

The sound reproduction of the RIAA preamplifier can be changed slightly by replacing some of the capacitors on the RIAA module, but that'll be a matter of taste rather than a matter of failure.

A better "tweak" (and one that can be proved technically) would be to replace the opamps with better spec'ed ones.
But - again - that will not be because of failure, or even because of frequency response, but mainly because of s/n specs, which rarely any owner would notice anyways.
These Beograms are excellent performers in their own rights, and beautiful design pieces at that, but any serious vinyl afficionado would've chosen a different deck altogether rather than trying to "tweak" something out that never was there.

The best tweak you can do is use a good quality cartridge.
In other words - if your cartridge was less than, say, 350-500 euros or thereabout, your focus should be on that long before any other "tweaks".

Martin

Martin
Not Ranked
Sweden
Posts 43
OFFLINE
Bronze Member
Martin replied on Sat, May 1 2021 7:11 PM

Thanks for giving your input on this! Good to know. It is difficult to know if it would be worthwhile to rebuild the old original MMC2 cartridge. I mean, it works and sounds OK as far as I can tell but who knows how much better it would sound with a fresh suspension and tip? Time will tell... :-)

Gerarddus
Not Ranked
Posts 1
OFFLINE
Bronze Member
Gerarddus replied on Tue, Feb 22 2022 5:44 PM

Thanks Martin,

I had the same scraping problems halfway through a record (the more heavy vinyl kind). I did exactly what you did and turned the three screws on my BeogGram 9500 a quarter turn. This solved the problem!

Gerard

Page 1 of 1 (16 items) | RSS