ARCHIVED FORUM -- March 2012 to February 2022READ ONLY FORUM
This is the second Archived Forum which was active between 1st March 2012 and 23rd February 2022
I know you are all out demonstrating today, BUILD B&O NOT WEAPONS, but I choose to dedicate myself to this one, I bought it with an early and low bid on US Ebay. USD 32.00.
Looking good from the outside
Number and type
Back and bottom cover off, dusty, the bottom cover had loose screws, I dont like that, someone has been in there.
Bottom side looks good, no burning marks and no visible repairs.
First time i see a green rectifier
Front panel, glued with contact glue and one peg broken
Upside, a little dust, but look at the slider plastics, the 2 right hand ones looks like cooked
Here close up, I will try to scan the left hand one and print on transparencies, or maybe Martin has ones.
One more close up, did someone put in wrong lamps ?
First look at the main board, looks clean
Here the green one again
Lamp supports out
Caps leaking
More, and some other has the famous round top
Ready to start soldering
Overview, check it, no cuba there, but I am having one now, more to come.
Collecting Vintage B&O is not a hobby, its a lifestyle.
Søren,
Looks like another great project…. and you always, but ALWAYS keep things interesting.
Like Rich, I admire the Beomaster 1900, but find it hard to justify adding one as it is so close to my existing Beomaster 2400.
Speaking of which, today needs to be the day that I add the 2 missing DIN pins that Martin sent me to see IF my Beomaster is indeed a 2400-2 and will remote control my “teacher’s pet” Beogram 4004. (It has never caused a single problem in 8 years!)
Sounds ridiculous, but I have been putting it off out of fear that it won’t work. Time to act like an adult…..
Jeff
P.S. For this and other forums the auto-notifications are not coming through for me, so if I fail to respond it is only because I am unaware of a posting.
Beogram 4000, Beogram 4002, Beogram 4004, Beogram 8000, Beogram 8002, Beogram 1602. Beogram 4500 CD player, B&O CDX player, Beocord 4500, Beocord 5000 T4716, Beocord 5000 T4716, Beocord 5000 T4716, Beocord 8004, Beocord 9000, Beomaster 1000, Beomaster 1600, Beomaster 2400.2, Beomaster 2400.2, Beomaster 4400, Beomaster 4500, Beolab 5000, Beomaster 5000, BeoCenter 9000. BeoSound Century, S-45.2, S-45.2, S-75, S-75, M-75, M-100, MC 120.2 speakers; B&O Illuminated Sign (with crown & red logo). B&O grey & black Illuminated Sign, B&O black Plexiglas dealer sign, B&O ash tray, B&O (Orrefors) dealer award vase, B&O Beotime Clock. Navy blue B&O baseball cap, B&O T-shirt X2, B&O black ball point pen, B&O Retail Management Binder
My son has a BM 1900, and I wanted to see the differences to BM 2400, so I made a wild bit on Ebay and got it cheap, it will probably be a give away, I have BM 2400 and BM 3300, and with the Beolab 5000 coming it is too much now. My biggest wish now is a BG 3000 Thorens this wish always comes up when the virus is in full bloom
Hi Søren,
Not to take away from this posting, but I added the 2 DIN pins and although the remote functions all work like “magic” now I have a terrible hum where I didn’t before.
Any ideas?
And yes I posted this on the workbench, but frankly, the more “eyes” that see this issue, the better shot I have at finding someone with a solution to this annoying hummmmmmm.
Could work a little yesterday, as it was Sunday I also had to cook a little, so I just got started.
Main board 1/3 done, I finished it today with Matins marvel kit, as you see I am cleaning off the dust with a soft brush as I go. I also check the ESR as get the caps out, I have never found so many caps totally out of specs in any of the BMs I have made until now. I finished the main board today Monday.
I will have to change these 2 big ones too, one is inside limits, the other one slightly above, no problem, I can buy them down on the corner. I will then check the trimmers and Darlingtons to see if a change is needed. This BM stinks as if it has been stored in a stable (pigs I think) but slowly it get right odor of fresh soldered electronics, The virus kicks in as I go, Its maybe a keeper and not a give away.
Finished the caps (some 60 pcs.) also the 5000 uF (is now 4700 uF) everything clean, put the main board back in place, changed all the lamps and put the lamp assemblies back in place. Ready to test and adjust.
New lamps in ready to be soldered
Ready, easy and fast work. old ones out then the wires from the new ones into the holes, clip on, adjust placement turn around and solder.
Connected my DMM to the 15V supply, connected the power plug turned on the main switch, Stand by lamp on, touched the FM pin, DMM showed 14.9V, thats spot on. Turned off, connected the DMM over R256, turned on again, after 20 seconds a small smoke signal appeared in the left channel area near or at the IC 200 (TIP 141) and the BM went on standby. IC 200 was very hot, I desoldered IC 200 and yes it was bad. Found a used but good TIP 141, checked all transistors and diodes (on board) in the end stage near IC200, cross checked with IC 300 circuit the TR 207 showed different from TR 307, I desoldered TR 207 and tested it off board, it tested OK, put it back in. Soldered the IC 200 in. Connected main on, standby light on, touched the FM pin, the BM turned on all lamps on and immediately went back to standby. I have now checked all transistors and diodes in the end stages and fault switch all with diode tester and on board, but find nothing wrong. So now HELP IS NEEDED
Rest assured that help is on the way. I wish I could be of assistance, but as you know, you are WAY over my head….. but fortunately we have guys with real expertise here at BeoWorld.
Like you, I look forward to their solution.
Sorry about that. Not at home today Søren, but I will look into it when I'm back.
Jacques
Did you locate the source of the smoke?Was it the IC or an emitter resistor ?
Martin
The IC was hotter than h**, I checked resistors on board, will desolder and check again
IC 200 emetter resistor unsoldered and checked OK, the other 3 on board same resistance around 0.5 Ohm
Fault finding in a complementary output stage like this can be a headache;You find a bad component and replace it. Power up and it still doesn't work.You find another bad component and replace it. Power up again and it still doesn't work.- Because the second bad component caused the first one to go bad.- And it has of course gone again now.You then replace both at the same time - but it still doesn't work, because the first one caused a third component later in thecircuit to go bad and you haven't found that one yet.What you don't know and won't find is that a fourth component suffered from a severe overload due to the failure of the first andsecond components providing it with internal scars that won't show until you least expect it. By then it will take all the others down with it plusa few more and you will never see the end of it.There's really only one safe way to repair an amplifier like this and that is to replace pretty much everything fromthe differential amplifier outwards.Check (or even better) replace TR212, TR213, TR214... onwards, as well as the trimmer, the two diodes and the emitter resistors.
Hi Soren,
I haven't checked the part numbers but spotted these the other day:
http://www.ebay.co.uk/itm/181647042896?_trksid=p2060353.m1438.l2649&ssPageName=STRK%3AMEBIDX%3AIT
I don't know if these are for the BM1900 or not but may be handy for you in the future if you can identify them.
Good uck,
Dave.
Last time I troubleshoot a 2400, It took me weeks to found out that the only cause of my problem was a simple open resistor in the output stage. I measured all resistor on board and compared their values with the opposite and working side, making a chart. Not to forget these broken copper traces that gave us all headaches one time or another...
When you'll find the solution to your problem (you will) it'll probably become one of your favorite pieces. Just because of the gratification of the fault finding.
I'd love to have a 1900, with the old square type light display. I must admit, however, that I prefer the look of the 2400. But the 1900 is THE historic piece that shaped how B&O would look for many years after.
Guillaume
I hate this, I will now have to pack up the BM 1900 set it aside and wait for parts, but as luck will Mouser has a better service down here in Mexico now. PIB. I will give it one more shot today before packing up. I have to order caps for the Beocord 2000 anyway.
I have Steren down here on the corner but its very limited what they can offer, and most of it China made. I have to go looking for the transistors, and then maybe at the same time make an inventory of my electronic parts, they are in 3 different places, well sorted in old and new.
Found enough Transistors for left channel, also diodes are there, started changing transistors from TR210 onward, slow going, changed 6 just now. Non showed bad measured off board. Tomorrow onto the rest and then resistors, slowly this thing starts to nerve me, if this doesnt work it will get the same treatment as the BM 4400
I changed nearly all TRs and diodes in the left channel, as I think something is wrong in the 15V supply and/or the fault switch I went there too, but ran out of TRs, went on checking resistors, and found this on the way
Thats in the right cannel, not in the left where the IC 200 was bad. Tomorrow more
Hi Soren , I have the same problem with my 1900 , I am cahnging every TRansistor and diode and checking resistors on the left power channel .
I will check it today if it is working ..
one thing is that I did not found porientiometer that is in the last stage of the power amplifier , could you send some links ?
Also fir all the lamps that still working but I will change it anyway .
thank you very much
Try Dillen on this forum
At last I got to this one, in the mean time I got a batch of bad BC 550b, from china through the bay, but after that Mouser had some good ones again, so i went all out, all smal TRs in end stages, all TIps, all rectifiers, also in the fail circuit, the emitter resistors, adjusted it all and here it is playing from BG 4002 to CX 100 for testing, now some 6 hours. Also tested tape input (from my phone) and radio stations, preset and so on.
After 6 hours playing mixed phono, radio and tape I put the BM on standby, after about 1.5 hours I heard a loud sound like something was falling on the floor, I was sitting some 10 meters from the BM, and the sound came from that direction, I went to investigate and found nothing that had fallen, the standby light was still on, but the light from the 4 outlet surge protector was out, a wifi extender connected to the same surge protector was still working, turned off and on the surge protector, the switch working also the wifi extender went off and on, but the surge protector light not so. I got nervous now, and disconnected the surge protector and left the BM disconnected.
Today in the morning I connected the BM again and I got no standby light, i didnt try anything else I want to get it on my workbench again to investigate what happened here, the sound that I thought came from something falling to the floor, must have come from the speakers, but the standby light was still on when I went there to check, So another mystery with this BM
Opened the BM, both fuses blown, new fuses, This is a US version only 1 main fuse and 1 for 15 V supply, connected to my variac, went slowly to 130 V standby light came on but the 15 V supply stopped at 1 V, so i am back where I started, I will rest for today and think this through before I throw it in the bin
Thank you for your help
Check the rectifier.Check the solder joints, where the stiff wires from the transformer is soldered to the fuse board.
Dillen: Check the rectifier.Check the solder joints, where the stiff wires from the transformer is soldered to the fuse board. Martin
Thanks Martin, I already checked rectifiers and AC feeds from the transformer it all seams OK, will continue today.
What happened must have been a power surge, there was a lot of lightning going on at the time when it happened, the BG 4002 connected to the same outlet is also dead, I will have to check that one later, I hope it is only a fuse.
Got lucky, only the main fuse blew, went through all the adjustment again, all just like i left it, tomorrow onto the BG 4002
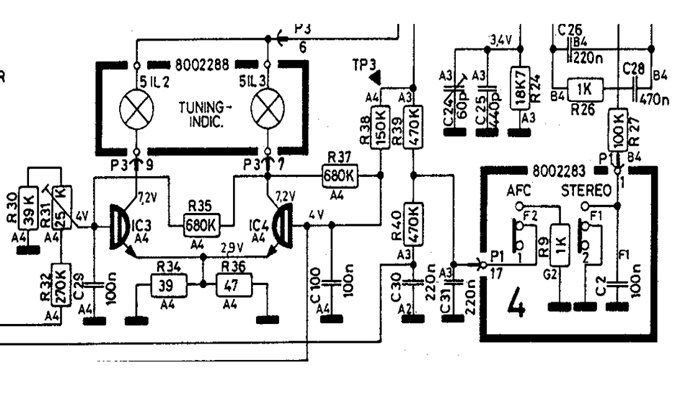
Dont know if this is a problem or it should be like that, The left tuning indicator lamp is on always when tape or phono is selected, the trimmer is new and indicator adjusted according to manual, observed while adjusting that the right lamp fades while turning the trimmer, the left lamp always bright. with trimmer in middle pos. both lamps bright. Tuning to stations on FM both lamps always bright. Stereo lamp comes on and off as it should
Bad darlington driver?
Try swapping the two.
Thank s Martin, will change both of them